August 31: Distortion through various means is a step closer to abstraction for the realist medium of photography, and Louis Ducos Du Hauron who died, penniless, on this date in 1921, contributed a remarkable invention to these means.
Louis Ducos du Hauron is best known for his contribution to colour photography. That a young French pianist, for whom a brilliant musical career had been predicted, should have done so when the necessary materials were not even available, is at first surprising, though the coincidence of sensitivity to colour and musical ability are understood. He also supported himself and his research, without ever mentioning it, by giving piano lessons.

His first work on light sensation dates back to 1858, and in 1862 he defined the trichromatic process for colour reproduction in photography the essence of which writes about in 1868; “All ranges of colourations are obtained by three monochromes.” Predicting a bright future for colour photography, Ducos du Hauron protected his discoveries with six patents including one that proposed that since a screen finely ruled with his tricolour green/violet/orange would appear gray when viewed from a distance that, if any of its coloured lines were obscured, the remaining lines would appear to merge to produce other colours. This led to his most time-consuming project, to perfect photomechanical color reproduction.
Perhaps it was the idea of the ruled screen that resulted in another of De Hauron’s inventions resulting from his discovery that photographing a subject through screens with perpendicular slits would distort the image. As he experimented, he gained more control over the angle and extent of distortion, then manufactured a camera equipped with these screens which he called ‘la Photographie Transformiste’ and in 1888, he was granted a patent for the unusual photographic effects and distortions he could produce through the use of “two elongated slits,” which is of interest here. In essence the combination of slits is a two-stage aperture, and the distortion that it produced could be adjusted with the angle of the slits in relation to each other.

His discovery remained an entertaining curiosity, being published in the chapter ‘Charicature Photographs’ of the American Photographic Amusements which was popular with amateurs seeking novel and attention-grabbing gimmicks, though like his other inventions his cross-slit technique found an application; more than a century later (c.2003) it is used in assembling ’image mosaics’ of digital images for virtual tours, including that used in the Street View feature of Google Maps.

Du Hauron’s humility and good-natured sense of humour is evident in the fact that it was his own visage on which he experimented with his apparatus.

With the invention of photography came complaints that the medium ‘distorted reality’, and even quite uncomplicated use of the camera, through choice of lens or even an unusual angle of view can produce exaggerated effects. A demonstration of this is in the pictures taken in New York by the unfairly little-known Leon Levinstein who was a contributor of two photographs to Edward Steichen‘s The Family of Man, whose individual photographers I have been investigating in my recent blog posts, in order to disperse perceptions that its ethos is entirely simplistic and ‘sentimental’.

Woman in Fur is photographed from almost street level. This evidently well-heeled couple, he in his double-breasted suit and she in her generous stole, stand outside their apartment impatiently waiting to hail a cab. Levinstein encompasses their well-fed physiques by placing his 35mm camera, which he habitually carried at arms-length, almost on the pavement, shooting upwards to candidly capture the two figures from the most unflattering angle, at the same time ironically increasing their pomposity. His other inclusion in The Family of Man is much more sympathetic to the more humble denizens of New York whom he loved to photograph, in that case it is of an African-American woman enjoying the company of her baby as they roll together on a rug on some scanty lawn in dappled shade.



Levinstein, who had only one solo show and, it is reported, turned down numbers of other opportunities to exhibit, was a prickly and solitary personality who never married, had few friends, alienated those who wanted to advance his career, and let his appearance go so that he was indistinguishable from the down-and-out subjects that he photographed in Times Square.
His technique was somewhat quixotic, tilting at the subject in passing and quite often decapitating them, as at right, an image which is in The Body: Concealing and Revealing opening tomorrow at Addison Gallery of American Art, on the campus of Phillips Academy, cnr. Main Street and Chapel Avenue in Andover, Massachusetts, till March 31, 2019.


Levenstein’s wide angle lens used at close range results in a distortion found also in the work of the more aggressive William Klein on these same streets. The result is a record of a chaotic, impersonal and often uncomfortable crowding.
Other means of image deformation are indirect, and one well known is the fairground mirror that André Kertész famously used in 1933 to produce his ‘Anamorphics‘ (not published until 1976) a series of ever more bizarre and twisted abstractions. His work on the female nude in the era of surrealism was followed as soon as the next decade by Bill Brandt‘s use of the lens a super-wide police crime scene camera to photograph his subjects on the stony beaches of Britain’s coast as early as the 1940s.
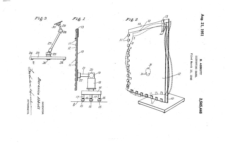
It comes as a surprise however to learn that the otherwise ‘straight’ photographer Berenice Abbott was the inventor of a darkroom means of distortion.

Abbott’s patent for a distorting easel (below) was filed in March, 1948 but clearly a prototype was in use ten years earlier by Arthur Seigel in his Self-Portrait (above), only four years after André Kertész’ made his ‘Anamorphics’ series.

Seigel (1913–1978) had already 10 years of experience in photography and had received a bachelor of science degree in sociology from Wayne State University in Detroit when he took this self-portrait and printed it with Abbott’s easel. That year he was awarded a scholarship at the Institute of Design at the Armour Institute recently founded by László Moholy-Nagy. There, Abbott and Seigel (who were both interested in the applications of photography to science and who had worked together before) gathered with other top photographers, from 8 July to 16 August in the summer of 1946, to conduct ‘The New Vision in Photography’. There were lectures, seminars, field trips, and demonstrations to inaugurate the Institute of Design’s new four-year photography programme. Abbott in her workshops, according (below) to a 1957 Popular Photography feature interestingly, despite her work on her ‘expressionist’ easel, warned against ‘photographed expression’ in portraits.



A discussion of distortion cannot finish without mentioning first the Chicagoan Nathan Lerner (1913-1997), another ‘surrealist distortionist’, whose work on show until December at Galerie Berinson, Schlüterstr. 28, Berlin includes the above rather funny/frightening portrait-cum-anatomical study made through a magnifying glass. He studied at the New Bauhaus at Chicago founded by László Moholy-Nagy in the late 1930s. Then there’s the inimitable and indefatigable ‘Weegee‘ (Arthur Fellig) who was also a presenter at the Institute of Design workshops.
In his ‘retirement’ and until he died, Fellig concentrated on what he variously called his “distortions,” “charicatures,” “creative photography,” or most often, his “art.” He used several methods; intervening textured or curved glass or other translucent material between the enlarger lens and the photographic paper; manipulating or mutilating copy negatives with boiling water, or naked flame; and making multiple exposures from the same or various negatives (he sometimes combined these techniques). He also would fix a kaleidoscope to the camera lens.
In his New Year’s Day darkroom session of 1950 Weegee applied distorting glass (left) as he enlarged negatives of a tightrope walker and also made this superimposition of performer and spectators.
Distortion in photography is a balancing act between artistry and gimmickry.

3 thoughts on “August 31: Distortion”